Choisissez votre grossiste
Nos services
www.b2b.el12.pl
www.akademia.el12.pl
www.elstilo.com.pl
Pour le fournisseur
Pour le client
/ Pologne / PLN / brut
Toutes catégories
Appareils électriques
Automatisation
Équipement électrique
Éclairage
Tableaux et enveloppes
Câbles et fils
Faire passer des câbles et des fils
Câbles et fils de connexion
Protection contre la foudre
Aération et chauffage
Outils
Instruments de mesure
Surveillance, alarmes, interphones
Sources d'énergie
Vêtements de protection et de sécurité au travail
Chimie
Photovoltaïque
appareils électroniques
Autre
Plus de produits
vente
Sortie
Demandes de renseignements
Presse-papiers
0
Panier
0
S'identifier / Registre
Se connecter
E-mail
Mot de passe
J'ai oublié mon mot de passe
S'identifier
Vous n'avez pas de compte ?
Enregistrer
Catégories
Producteurs
Pourquoi nous
Sortie
Promotions
Bestsellers
Contact
el12
Прокладання проводів та кабелів
Аксесуари для кабелів та проводів
Метизи
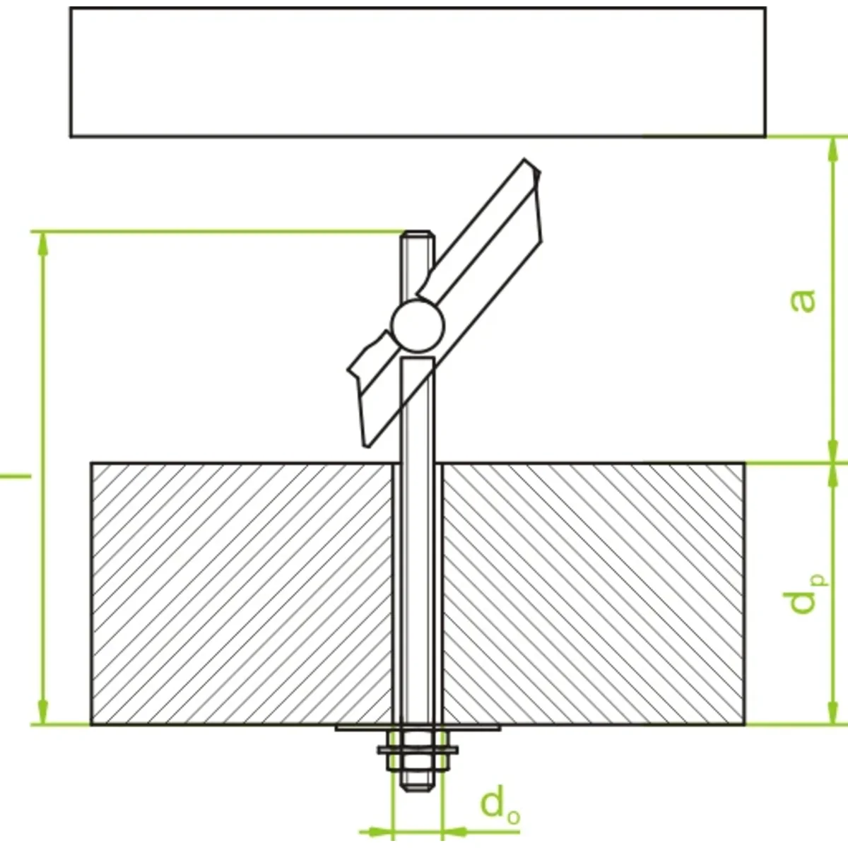
Гвинт з рухомим фіксатором, SZM8x100 650300
Index local:
TAS003BAKS
Numéro de catalogue:
650300
Code EAN:
5900993104189
Cliquer sur la photo pour l'agrandir
Producteur:
BAKS
Цоколь:
M8
Тип:
SZM8x100
Voir la description complète
Prix:
6,21 zł
Брутто / pcs.
(y compris la TVA 23%)
jusqu'à 4 semaines
Sur commande
Quantité pcs.
(plusieurs:
1
)
Ajouter au panier
Ajouter à la demande de devis
Ajouter au presse-papiers
Imprimer
Renseignez-vous sur le produit
Description du produit
Données techniques
Détails du fabricant
Description du produit
Гвинт з храповим механізмом, СЗМ8х100
Développer la description complète ▼
Données techniques
Цоколь
M8
PKWIU
25.94.11.0
Тип
SZM8x100
Élargir les données techniques ▼
Détails du fabricant
Producteur
BAKS Kazimierz Sielski
Adresse
05-480 Karczew Jagodne 5 Polska
E-mail
baks@baks.com.pl
Signaler une erreur