Wählen Sie Ihren Großhändler
Unsere Service
www.b2b.el12.pl
www.akademia.el12.pl
www.elstilo.com.pl
Für Lieferanten
Für Kundde
/ Polen / PLN / brutto
Alle Kategorien
Elektrische Geräte
Automation
Elektrisches Zubehör
Beleuchtung
Verteiler und Gehäuse
Kabel und Drähte
Kabel- und Drahtführung
Kabel- und Drähtverbindung
Blitzschutz
Lüftung, Heizung
Werkzeuge
Messgeräte
Überwachung, Alarme, Gegensprechanlagen
Stromversorgungen
Schutzkleidung
Reinigungs- und Wartungsmaterialien
Photovoltaik
Elektronische Geräte
Andere
Plus Produkte
Sonderangenote
Auslauf
Anfragen
Zwischenablage
0
Warenkorb
0
Einloggen / Registrieren
Anmeldung
E-Mail
Passwort
Ich habe mein Passwort vergessen
Einloggen
Sie haben noch kein Konto?
Registrieren Sie sich
Kategorien
Hersteller
Warum wir
Auslauf
Sonderangebote
Verkaufsschlager
Kontakt
el12
Faire passer des câbles et des fils
Accessoires pour câbles et fils
Boulons et rondelles
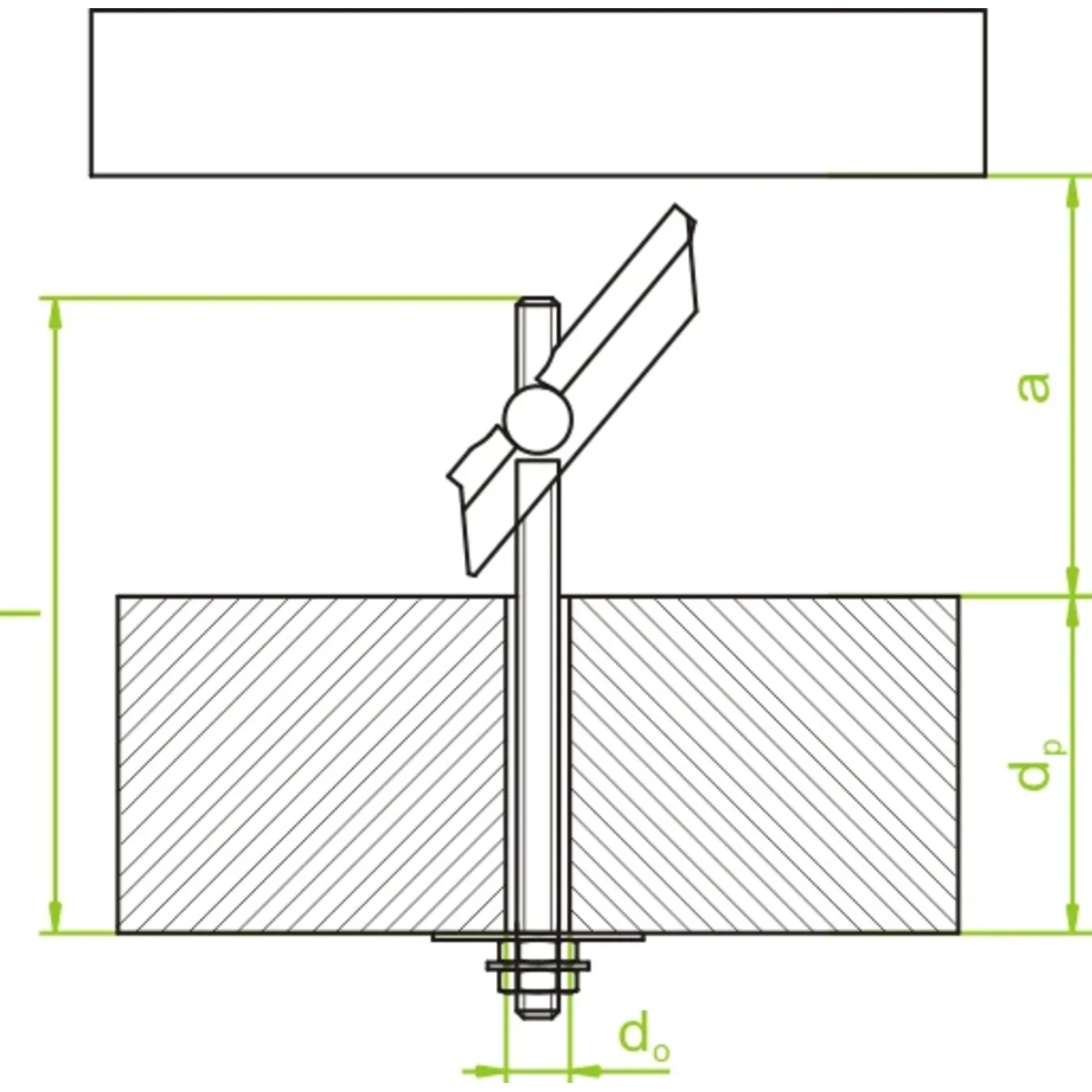
Vis à cliquet, SZM8x100 650300
Lokaler Index:
TAS003BAKS
Katalognummer:
650300
EAN-Code:
5900993104189
Klicken Sie auf das Foto, um es zu vergrößern
Hersteller:
BAKS
Gérer:
M8
Taper:
SZM8x100
Siehe vollständige Beschreibung
Preis:
6,21 zł
brut / stk.
(inklusive MwSt 23%)
bis zu 4 Wochen
Auf Bestellung
Menge stk.
(mehrere:
1
)
In den Warenkorb
Zur Angebotsanfrage hinzufügen
Zur Zwischenablage hinzufügen
Drucken
Fragen Sie nach dem Produkt
Produktbeschreibung
Technische Daten
Hersteller-Details
Produktbeschreibung
Vis à cliquet, SZM8x100
Vollständige Beschreibung ausklappen ▼
Technische Daten
Gérer
M8
PKWIU
25.94.11.0
Taper
SZM8x100
Technische Daten erweitern ▼
Hersteller-Details
Hersteller
BAKS Kazimierz Sielski
Adresse
05-480 Karczew Jagodne 5 Polska
E-Mail
baks@baks.com.pl
Fehler melden