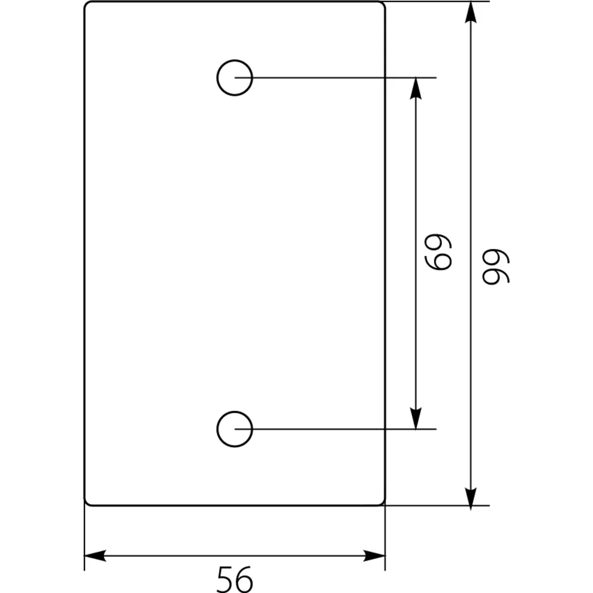
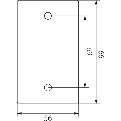
Les serre-câbles sont utilisés pour fixer le câble d'alimentation et les tuyaux dans les postes de commutation, aux structures en acier, aux poteaux ZN. Du polyamide composé de fibres de verre à haute résistance mécanique et résistance aux rayons UV et à divers types de graisses et d'huiles a été utilisé.